Số Duyệt:0 CỦA:trang web biên tập đăng: 2026-02-28 Nguồn:Site
Chức năng của khuôn xi lanh máy giấy
Khuôn trụ là thành phần chính để hình thành lưới giấy trong máy sản xuất giấy trụ. Yêu cầu nó lọc nước đều và không tạo ra sự khuấy trộn quá mức trong bể lưới trong quá trình quay. Khuôn hình trụ phải có đủ độ cứng và kích thước hình học chính xác và phải được lắp đặt theo chiều ngang.
Khuôn xi lanh được chia thành: khuôn xi lanh thông thường, loại chip, khuôn hút và khuôn chân không theo cấu trúc của chúng; Chia theo chất liệu: khuôn thông thường, toàn bộ bằng đồng, thép không gỉ.
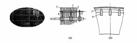
Hình dưới đây là sơ đồ của cấu trúc khuôn xi lanh điển hình.

Một thiết bị sườn đỡ bằng đồng gọi là nan hoa được lắp đặt trên trục gang, với khoảng cách các nan hoa là 100-150mm. Các nan đỡ vành bánh xe trung tâm và được bao quanh bởi các rãnh. Các rãnh được trang bị các thanh ngang có chiều dài bằng khuôn hình trụ. Đường kính của thanh ngang khoảng 1cm, có khoảng cách từ tâm đến tâm khoảng 4cm, song song với trục giữa. Thanh ngang được làm bằng thép hoặc đồng thau, mặt cắt ngang của nó có thể là hình tròn hoặc hình chữ nhật. Hai bánh xe ngoài cùng được đúc các vòng nhô ra tạo thành đệm kín với các phần tương ứng của rãnh lưới, cách ly bên trong và bên ngoài khuôn trụ. Phay các rãnh nhỏ có răng cưa trên thanh ngang theo đường xoắn ốc, quấn dây kim loại liên tục có đường kính khoảng 3mm thành hình xoắn ốc xung quanh khuôn trụ để tạo thành khung trụ dạng lưới hình trụ. Khoảng cách giữa các dây kim loại liền kề là khoảng 1cm. Cuối cùng, bọc dây đồng bằng một lớp lưới đồng thau hoặc thép không gỉ dày hơn, sau đó bọc lại bằng lưới mỏng hơn dùng để làm giấy. Cả lưới bên trong và lưới bề mặt đều là lưới cuối, được siết chặt trên khung khuôn hình trụ bằng các dụng cụ đặc biệt và được kết nối bằng hàn bạc hoặc hàn điện. Cụm cuối cùng phải rất tròn và đồng tâm với trục trung tâm, có đủ độ cứng để chịu được áp lực của các con lăn mà không bị biến dạng. Phạm vi đường kính của khuôn hình trụ tiêu chuẩn là khoảng 1-1,5m, và thông số kỹ thuật thường được sử dụng là 1,2m.
Thiết bị ổ trục khuôn xi lanh được đặt bên ngoài rãnh lưới. Hai đầu của khuôn trụ được nối với hộp bên của khe lưới. Sau khi bột giấy được nối với lưới, nước trắng được lọc vào khuôn xi lanh qua lưới đồng đi vào hộp bên từ hai đầu của khuôn xi lanh, sau đó được bơm ra ngoài bằng máy bơm nước trắng để tái chế.

Lưới bên trong của khuôn xi lanh thường là lưới 8-16, chủ yếu được sử dụng để phân tán áp lực của con lăn và giữ cho lưới bề mặt phẳng. Lưới tương đối dày đặc và được sử dụng để lọc các sợi tạo thành mạng giấy, thường có kích thước từ 40-100 lưới. Việc lựa chọn kích thước mắt lưới chủ yếu phụ thuộc vào loại giấy được sản xuất và kích thước mắt lưới được sử dụng phổ biến nhất để sản xuất giấy văn hóa nói chung là 65 lưới.
Hình dưới đây cho thấy dạng cấu trúc của khuôn trụ loại chip. Khuôn trụ loại chip dùng để chỉ việc thay đổi đĩa ngoài của khuôn trụ thông thường từ dây đồng có đường kính 3 mm sang tấm thép không gỉ có tiết diện hình chữ nhật. Các tính năng chính của nó là: tăng diện tích và tốc độ lọc, đồng thời cải thiện sản xuất; Cải thiện chất lượng giấy, bao gồm tính đồng nhất, trọng lượng, tỷ lệ khung hình và giảm chi phí tiêu thụ và bảo trì của lưới đồng, nỉ và các vật liệu khác; Tăng cường tính toàn vẹn tổng thể và hiệu suất chống ăn mòn của thiết bị, với độ bền cao, độ cứng và độ bền tốt. Có ba loại khuôn xi lanh đã được phát triển và sản xuất: chip xuyên qua, chip cuộn và chip nghiêng.
![]() | ![]() |